Ridge Cutter Patent US 7051819 B1 – Means for creating weep holes in a ridge of roadway material
Abstract:
A weep hole blade is operably mounted on the heel of the grader blade of a motor grader which is movable between raised and lowered positions with respect to the grader blade to create weep holes or channels in a ridge of roadway material being deposited at the side of a road by the motor grader.
A perspective view of a motor grader having the apparatus of the Ridge Cutter mounted on the heel of the grader blade.
A rear view of the apparatus of the Ridge Cutter.
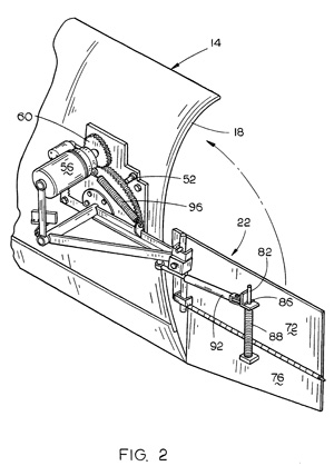
An exploded perspective view of the apparatus of the Ridge Cutter.
A rear perspective view of the apparatus of the Ridge Cutter mounted on the grader blade.
An end view of the apparatus.